Lc 30


  •  

    18-22 mm Panel Kalınlık - Panel Thickness
    2 Kutu İçi Miktar - Box Quantity
    30 kg Ağırlık - Weight
    Ahşap / Wooden
    İçten Sistem / Internal System
    Sürme Kapak Sistemi / Sliding System


     


 

Ürün Kodları

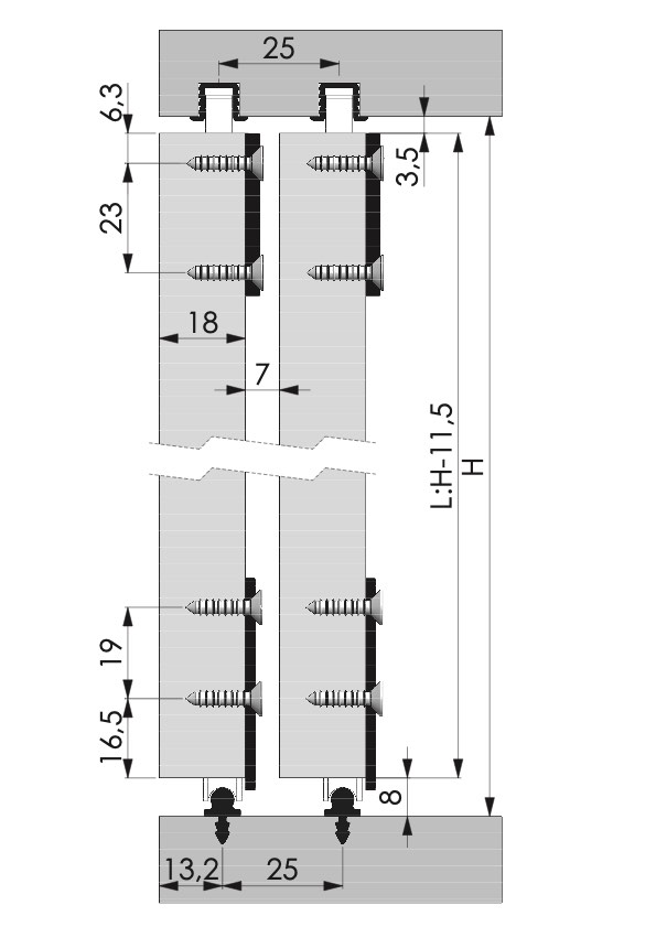
Teknik Çizim

Montaj Şeması

Lc 30
Code
T(mm)
Box
Volume (m³)
Weight (kg)
Weight Birim / Unit
L-1121
18-22
72
0,000
0,109
Takım




Teknik Çizim / Technical Drawing Code T (mt) Bağ / Band Volume (m³) Weight (kg) Unit
Alüminyum Alt Ray / Bottom Rail
Alüminyum Alt Ray / Bottom Rail
L-3106 3.0 50 0,001 0,300 Adet
PVC Alt Ray / Bottom Rail
PVC Alt Ray / Bottom Rail
L-3701 3.0 50 0,000 0,200 Adet
PVC Üst Ray / Upper Rail
PVC Üst Ray / Upper Rail
L-3703 3.0 50 0,023 0,200 Adet


Bu ürün için teknik çizim bulunmamaktadır.

Montaj Dosyası:

PDF İndir